Home
About Us
Products
Engineering Data
Engineering Drawings
Advertisements
On The Web
Sales Rep Map
Terms & Conditions
Contact Us
Trade Associations
MHI
MHEDA
PTDA
CEMA
PTRA
Contact Us Now!
1-800-486-0021
Join Us At MODEX 2026
Click Here To Register
Engineering Drawings Catalog Section
Click Here
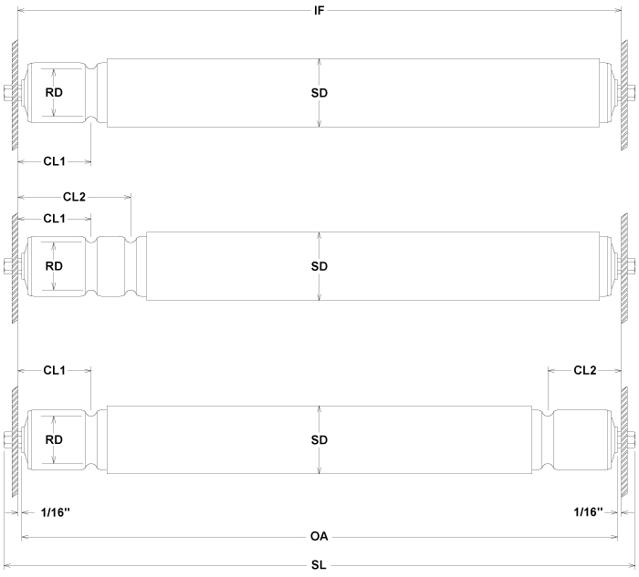
Specific Drawing
Site Map
Standard Roller IF
Standard Roller OA
Single Groove Roller IF
Single Groove Roller OA
Double Groove Roller IF
Double Groove Roller OA
Double Groove Opposite IF
Double Groove Opposite OA
Triple Groove Roller IF #1
Triple Groove Roller OA #1
Triple Groove Roller IF #2
Triple Groove Roller OA #2
Quad Groove Roller IF
Quad Groove Roller OA
Single Sprocket Roller IF
Single Sprocket Roller OA
Double Sprocket Roller IF
Double Sprocket Roller OA
Double Sprocket Opposite IF
Double Sprocket Opposite OA
Blind Hole Idler Roller IF
Through Hole Idler Roller OA
Plastic Flat Cap Roller
Cantilever Roller A
Cantilever Roller B
Custom Endplug
1.9 Poly-V Belt Roller OA
2.5 Poly-V J Belt Roller OA
2.5 Poly-V K Belt Roller OA
Gravity Urethane Taper
O-Ring Driven Taper
V-Belt Driven Taper
Sprocket Driven Taper Sm End
Sprocket Driven Taper Lg End
Gravity Urethane Sleeve
O-Ring Driven Sleeve
Sprocket Driven Sleeve
Engineering Drawings
O-Ring Driven Urethane Sleeved Rollers
Click Here For A Printable PDF
Contact Customer Service For A Detailed Catalog
Of Ralphs-Pugh Metal Rollers At 1-800-486-0021
Home
About Us
Products
Engineering Data
Engineering Drawings
Advertisements
On The Web
Sales Rep Map
Terms & Conditions
Contact Us
© 2025
www.Ralphs-Pugh.com
|
Disclaimer